近日,珠海格力电器股份有限公司新获实用新型专利授权“蜗壳组件、风机及空调器”。该专利通过优化扩压段侧壁曲面设计,控制气流分布与扩压程度,解决蜗壳出风速度过大问题,提升风机静压能力和风量,降低噪音。
2025年格力电器新增专利授权6436个,同比增长21%;上半年研发投入39.18亿元,同比增10.92%。企业对外投资101家,累计专利达116868条。
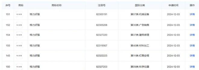
此外,格力电器申请注册多枚“格力好强”商标,国际分类涉及灯具空调、广告销售、机械设备等。

格力的变频空调关键技术的研究及应用获国家科学技术进步奖二等奖。2024年,格力AI动态节能技术经中国轻工业联合会组织的科技成果鉴定会鉴定为“国际领先”。截至目前,格力电器已拥有44项“国际领先”技术。
就像中国制冷学会项目评估委员会专家评价:“格力的创新充分体现了我国的技术自信,希望格力继续引领民族产业走向世界!”
舒适是现代家居生活的重要标准之一,“冬暖夏凉”也早已成了品质生活的“标配”。然而在实际生活当中,由于环境的复杂性,部分消费者在使用空调时仍或多或少面临着不舒适的困境——夏天冷风吹得人头痛,冬天“头热脚冷”的日子十分难熬。
作为中国制造企业,格力深刻理解用户、特别是中国用户对于空调舒适性、养生性的需求。
格力风不吹人空调潜心研发10年,不断升级、迭代产品。柜机搭载的分布式送风技术2017年被中国制冷学会鉴定为“国际领先”。

格力研发团队通过“基于热舒适与节能的分布式送风末端技术”“多离心风机高效布局技术”“多风机高效低噪整流技术”等一系列技术解决方案,将“分布式送风”技术成功运用于热泵空调上,使空调实现了“地毯式制热”这一更加科学高效的气流组织方式,大幅缩小了室内的垂直温度差,带来更舒适的体验。
同时,这种送风方式能使热量直接作用于人体活动区域,降低了热量积聚于房间顶部造成的浪费,为用户节省了电费。
格力电器研发人员说,“室内垂直温度差”并不是一个新问题,国内外也曾有科研机构和人员试图尝试分布式送风的解决方案,但在房间热泵空调上却一直未获成功。”针对这一长期以来困扰用户的问题,格力电器董事长董明珠在几年前有预见性地提出,可否通过调整空调送风方式,来改善室内垂直空气温差。

以此为切入点,格力研发团队在实验室中模拟还原出了室内气流走向和温度场变化,但在实际研发制造过程中,研发团队也遭遇了诸多技术难题和瓶颈,如缺乏分布式送风末端气流组织研究、缺乏合适的风道载体满足送风目标值要求、多风机组合出风气流阻力大、效率低、声品质差等。
困难面前,格力研发团队并没有放弃,通过数年努力,经过成千上万次的推算、实验,对空调风机、整流、送风末端等技术推敲、改进,创造性地研发出了分布式送风技术,并成功应用于格力全新空调产品。项目研究成果申请国家发明专利39项,其中8项申请国际专利。
采用分布式送风技术的格力空调,在夏天还可 “瀑布式制冷”,上风口将气流导向至房间顶部,利用冷空气自然下沉扩散式降温,实现“冷风不吹人”,远离“空调病”。
在冬季供热场景下,空调会面临停机除霜的问题,传统空调外机在除霜时停止向室内供热并且吸收室内热量,导致室内温度波动大,给消费者带来体感上的不适。尤其像在长江流域这样冬季低温高湿的特殊环境下,空调面临着更为艰巨的除霜挑战。
珠海格力电器股份有限公司和珠海格力节能环保制冷技术研究中心有限公司共同完成的“空气源热泵连续供热高效热气除霜技术”被鉴定为“国际首创,国际领先”。

该项技术针对冬季空调频繁停机除霜、除霜期间室内温降大、不舒适等问题进行了集中攻关。不仅大大提升了消费者冬季取暖的舒适度,也有效增强了空调运行的节能效果,为加快推进清洁取暖进程,推动实现碳达峰、碳中和目标提供了科技助力。
为提升消费者冬季取暖的舒适度,同时降低除霜期间不必要的能量消耗,格力研发人员深入研究空调在特殊环境中的运行机制,从室内侧、室外侧双重角度出发,创新研制出空气源热泵连续供热高效热气除霜技术,逐个击破了除霜热量低、除霜热量分布不均、除霜效率低以及供热不连续等难题,大大提升了空调的冬季供热效果。

在室外侧,针对除霜时换热器末端盘管霜层融化难等问题,格力发明了基于多参数耦合的高除霜热量控制技术,使除霜工况下的热量输出大幅提升;针对传统热气除霜时室外换热器不同位置除霜不同步、除霜效率低的问题,发明了热气均衡除霜技术,除霜效率提升,除霜时间缩短。在室内侧,发明了除霜热量配比自寻优控制技术,减小了除霜期间室内的温度波动。
中国工程院院士、清华大学教授江亿表示:“格力的技术在实现供热连续性、提升供热效率等多方面具有创新性,在解决不同区域的冬季差异性供热需求方面具有较好前景。格力电器接连取得技术成果让我们看到了中国企业线
全球变暖是当今人类社会共同面对的主要环境问题,“双碳”目标是关乎我国经济社会发展的重大战略决策,作为重要的用能行业之一,家电行业正在通过技术创新实现低碳发展。
随着空调保有量的逐年增加,国际能源署预计到2050年空调碳排放占全球碳排放总量的比值将上升至10%以上,研发先进的空调低碳动态运行节能技术,是未来空调行业发展的必然趋势,对全球的节能减排、“碳中和”目标的实现意义重大。

针对当前空调动态运行能效评价方法缺失,实际节能效果参差不齐的问题,格力创新研发了国际领先的“变频空调低碳动态运行关键技术”。发明了基于人工智能算法的空调动态能效寻优控制技术,达到了空调动态运行最佳效果;发明了基于神经网络自学习的房间负荷自适应技术,实现了空调快速控温舒适节能;开发了基于空调动态节能的高适用性AI芯片,建立了满足空调算力的动态节能硬件平台。
经第三方检测,搭载“变频空调低碳动态运行关键技术”的空调器全年动态能效提升15.8%以上,全年耗电量降低13.6%以上。
目前,项目已累计申请国家发明专利136项,授权68项,形成了1份动态能效测试标准。相关成果已应用至5大系列32款机型,按照已售空调数量评估可减少二氧化碳排放量约21.68万吨。

通过持续创新,格力积极推动自身以及行业实现绿色低碳发展,为全球节能减排、绿色转型贡献更多智慧和方案。随着“变频空调低碳动态运行关键技术”的推出以及针对空调动态运行过程评价方法的推广,将极大推动空调行业在空调动态运行节能方面的技术进步,真正实现空调运行的节能减碳。
可以说,格力作为一家老牌中国空调制造企业,长期以来坚持自主创新,在空调领域推出了一系列具有自主知识产权的核心技术,满足用户对健康、舒适、节能的需求,同时率先推出行业最高服务标准“十年免费包修”政策。
这些大量的核心技术均基于用户需求研发、并投入了巨大人力及财力,领先行业的售后服务虽提高了企业的运营成本,但对于消费者来说也大大提升了使用体验。

格力电器董事长董明珠表示,“格力是坚定走自主创新道路的企业。希望我们的创新能为消费者带来生活品质的改善,也推动整个行业、整个社会的发展。”
在国家“双碳”目标的驱动之下,格力电器正以高度的责任感和强大的创新实力,不断为绿色发展赋能,为美好生活增彩。
上海一辆理想Mega行驶时无碰撞起火,10秒内车底连续爆炸,被烧成空架,多方回应
“娃小宗”仅41天就“退场”,因部分经销商抵触,知情人士:品牌保证金收取存阻力
轻松驾驭RTX 5090!微星MEG Ai1600T PCIE5超神电源图赏
近三年幼儿园人数差距:22年4627万,23年4093万,24年多少?